Navigation
Detail
Zusammengesetzter Körper
Urheber:
CJU, CC0
Bildnummer:
P11766
Auflösung:
600x400
Format:
PNG
Quelle:
https://www.schulportal-thueringen.de/pixiothek/detail?tspi=P11766
Kurzbeschreibung:
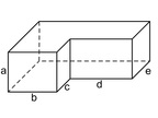
Das Bild gehört zur Serie "Geometrie Körper". Es zeigt einen aus zwei Quadern zusammengesetzten Körper. Bei Vorgabe von Maßangaben für die bezeichneten Seiten kann das Gesamtvolumen berechnet werden. Das Bild ist unter CC0 lizenziert und kann somit frei verwendet werden.
Verwandte Bilder (Auswahl)
Zusammengesetzter Körper
(600x400)
Quader mit zwei Bohrungen
(800x400)
Quader mit Raumdiagonele
(1250x850)
Zusammengesetzter Körper
(600x400)
Vierseitiges Prisma, Quader
(462x609)
Quader mit zwei Bohrungen
(800x400)
Zusammengesetzter Körper
(600x400)
Zusammengesetzter Körper
(500x400)
Quader
(1350x900)
Quader
(1250x820)
Verwandte Medien (Auswahl)
Die Honigbiene
(öffentlich) Poster und Ar...
Online-Medium
(2011)
3 Minuten Infos: Nutztiere
(öffentlich)
Online-Medium
(2009)
Heimische Tiere: Wirbellose
(öffentlich)
Online-Medium
(2020)
Lernort: Bienenmodell un...
(öffentlich) Deutsches B...
Lernort
(2012)
Lernort: Besuch beim Imker
(öffentlich) Hobbyimkere...
Lernort
(2024)
Lernort: Nachtschwärmern...
(öffentlich) Gartenoase Friesau
Lernort
(2017)
Lernort: Fotoschau zu einh...
(öffentlich) Mobiles Lern...
Lernort
(2017)
Lernort: Insektenhotels ...
(öffentlich) Gartenoase Friesau
Lernort
(2017)
Die Honigbiene
(öffentlich) Flipcharts ...
Online-Medium
(2012)
So entsteht Bienenhonig
(öffentlich) ZDF: Terra ...
Online-Medium
(2021)